
All and more about Sharp PC-1 500
at
http:f/www.PC-1500.info
0 D D 0
p p p I)
B D B B
4 3 2 1
_T_l_R_C_L_O_C_K _
_.
PEOU
T 110
14
5696
Vee.
'l
oo
V
ss
• C
LOCK
circu
it
(S
W
2)
V
ss
15
0K
cl--
~~~~
-<
.,:-7=~~
'-..>-
~
CF
CTLA
C
TLe
1
54KHt
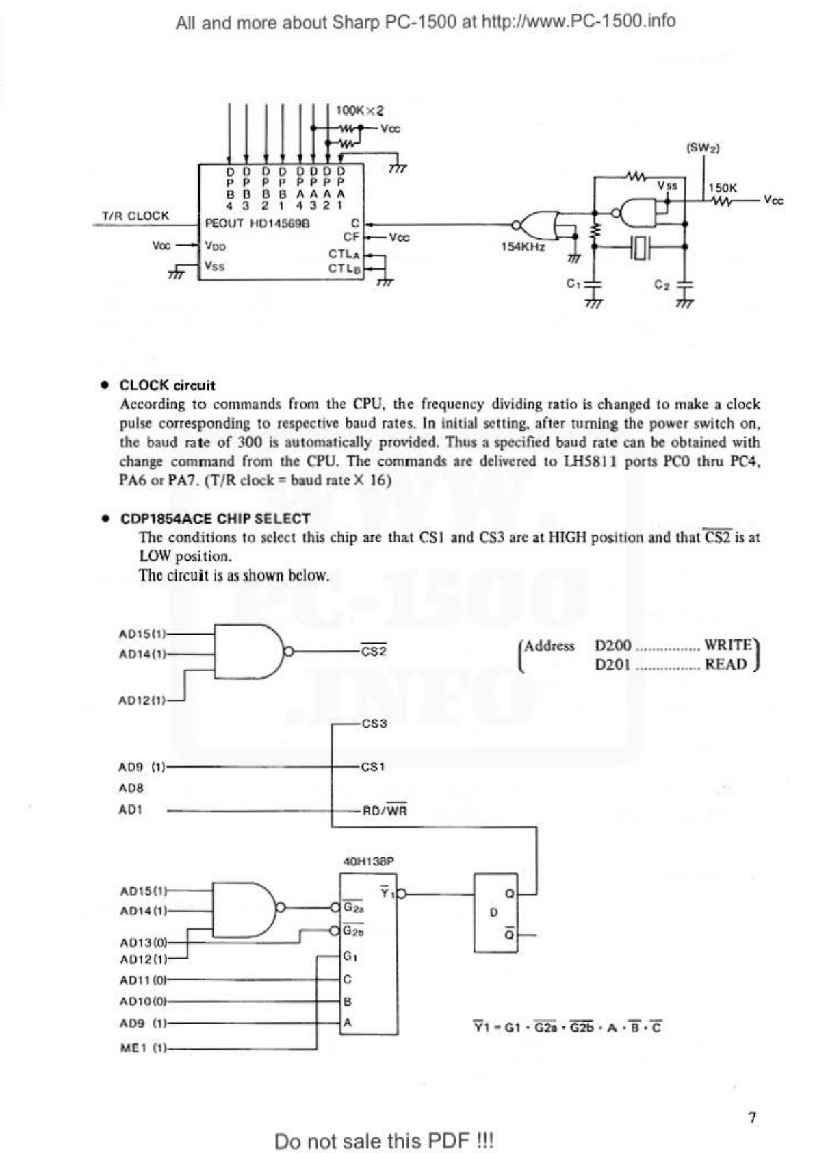
According to co
mm
ands f
ro
m the CPU, the frequency dividing
ra
tio
is
c
han
ged to make a cl
ock
pulse
co
rres
po
nd
ing to respecti
ve
baud rates. In initi
al
settin
g,
af
ter turni
ng
the power switch on,
the baud
ra
t e
of
300
is
automatically provided. Thus a specified baud rate can
be
obtained with
ch•nge command from
the
CPU. The commands 3rC delivered
to
LH581 l ports
PCO
thru PC4,
PA6
or
P
A7
.
(T
/ R clock= baud r3tc X 16)
•
CDP
1
854
ACE
CH
IP SELECT
The con
di
tions
to
se
l
ect
this chip are
that
CSI
and
CS3
arc
at
HIGH p
osi1
i
on
and that CS2 is at
LOW
po
si
ti
on
.
The
circuit is as sh
own
be
low.
A015(1)
jd
)
A0
14
(1)
---
--l
-
·>--
- -
CS2
-
----
A012(1)
CS
3
.--
•
)
CS
1
A09
(1
110
8
AD
I
RO/
WR
A0
15(t
A0
14
(1
~
)
·
:
~
I
)
)
\ .
11
0 13 (0
11
0 1
2(
1
A011 (0
11010(0
1109
(1
ME l
(1
_J
r-
40H1
38P
Y1
h
o,.
er;;
G 1
c
B
A
Of-
0
of-
YI
• G1 •
Do
not sale this PDF !!!
0200
...
.............
WRITE
)
0201 ................ READ
7
Comentários a estes Manuais