
45
Partie3
POUR LE DIRECTEUR
Partie2Partie1
PROGRAMMATION DE FONCTIONS AUXILIAIRES
La caisse enregistreuse possède diverses touches telles que
%
,
&
,
-
,
r
,
R
,
V
,
X
,
Y
,
c
,
b
et
A
.
Taux pour
%
,
&
et
V
*: Taux
0.00 – 100.00 (% du taux)
0.000000 – 999.999999 (Taux de conversion de la monnaie)
Vous devez utiliser un point de décimalisation lors du réglage de taux fractionnels.
Montant pour
-
200
-
A
ImpressionExemple de manipulation des touches
Montant du rabais (6 chiffres max.)
A-
Pour programmer zéro
Nota
Taux du pourcentage
Taux de conversion
de la monnaie
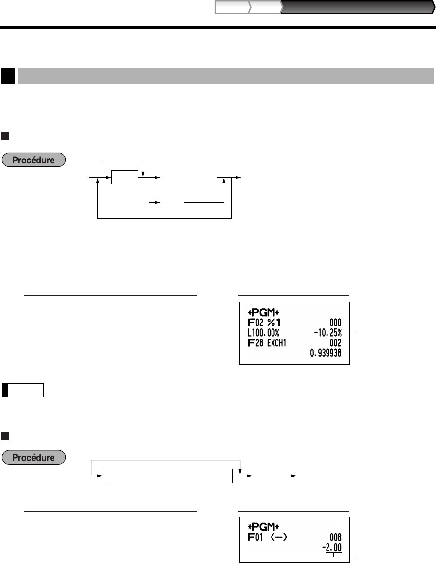
10
P
25
%
0
P
939938
V
A
ImpressionExemple de manipulation des touches
*Taux ou
%
V
A&
Pour programmer un autre taux
Pour programmer zéro
Programmation de touches diverses
1
A113_3(Fr) 06.9.11 7:14 PM Page 45
Comentários a estes Manuais