
7-27
Chapter 7: Computer Link Function
7
77
77
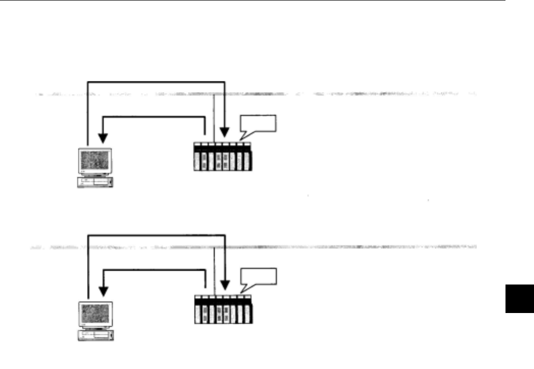
7 Start, stop commands
This is a function used to remotely start and stop the operation of equipment that is connected to the
FL-net.
Request message
Response message
Operation
Operation instruction
Request message
Response message
Stop
Stop instruction
Comentários a estes Manuais