
Adjusting the Resolution and Contrast
37
2. Sending
Documents
Contrast
The fax machine has three contrast settings:
The default setting is AUTO.
To adjust the contrast, press until the desired setting appears in the
display.
AUTO Use AUTO for normal documents.
DARK Use DARK for faint documents.
LIGHT Use LIGHT for documents with a dark
background.
CONTRAST
CONTRAST
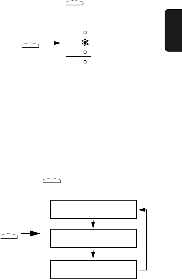
HALF TONE
STANDARD
FINE
SUPER FINE
RESOLUTION
(LIGHT)
M:00% SEND READY
( DARK)
M:00% SEND READY
( AUTO)
M:00% SEND READY
To adjust the resolution setting, press one or more times until the
indicator light next to the desired setting comes on.
RESOLUTION
Comentários a estes Manuais