
НАИМЕНОВАНИЕ УЗЛОВ КОПИРА И ИХ ФУНКЦИИ
В зависимости от страны или региона функциональ
ные кнопки обозначены на панели управления тер
минами на английском языке или символами.
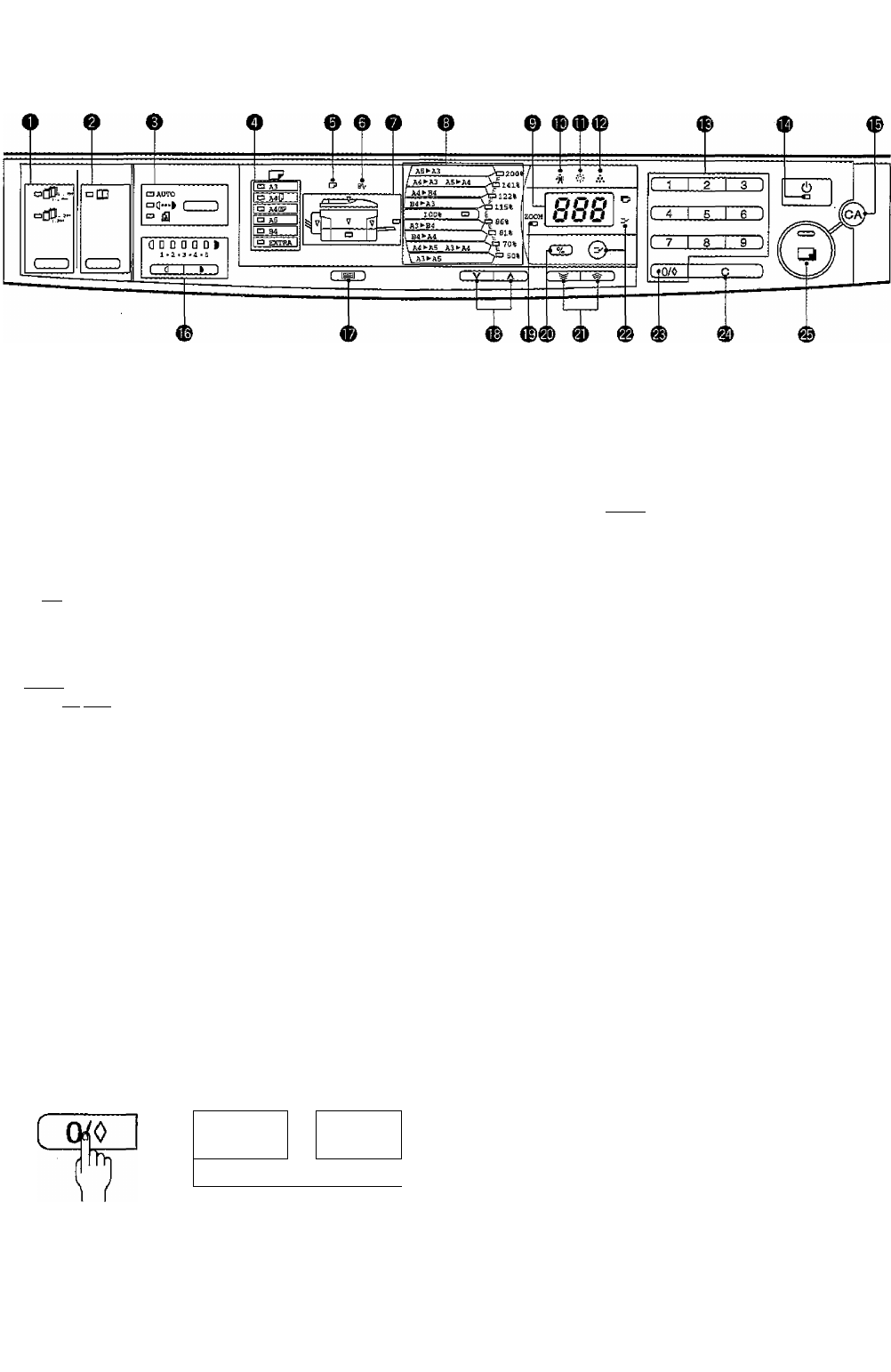
Индикатор МАСШТАБИРОВАНИЯ (стр.9)
Загорается при установки масштаба копиро
вания.
Кнопка дисплея МАСШТАБА
(Г^) (стр.9)
ГГри наэкатии и
КОПИИ
ри нажатии и удерживании этой кнопки в
режиме ожидания на дисплее количества ко
пий появляется значение масштаба копии.
ф Кнопки
________
МАСШТАБИРОВАНИЯ
^ 1.1 ^ 1) (стр.9)
С их помощью устанавливается масштаб уве
личения или уменьшения копии от 50% до
200% с шагом в 1%.
^ Кнопка и индикатор прерывания копиро
вания (0) (стр.1б)
Прерывает процесс изготовления копий.
ф Кнопка Ноль/Считывание
(С
0/(
При вводе данных о количестве копий выпол
няет роль одной из кнопок клавиатуры.
Нажатие во время последовательного копи
рования вызывает на дисплее информацию
о текущем количестве изготовленных ко
пий.
В режиме ожидания “STAND-BY” при нажа
тии этой кнопки на дисплее появляются дан
ные об общем количестве копий, полученных
с момента установки копира до настоящего
времени.
1-й дисплей
2-й дисплей
и
3 ч с
________
1
Нажмите и удв|зживайте кноп)^
12,345
ЮЛИЙ изготовлено по настоящее время
Кнопка сброса (|~ С ])
Сбрасывает данные с дисплея количества
копий или завершает процесс копирования.
@ Кнопка копирования ( ) и индикатор
READY (ГОТОВ К РАБОТЕ)
Копирование возможно только при включен
ном индикаторе. Нажмите кнопку {[Д) для
того, чтобы начать процесс изготовления ко
пий.
Начальные значения функций копира
• Масштаб копирования: 100%
• Экспонирование; Автоматическое
• Количество копий: 0
• Копирование с разворота страниц и режи
мы сортировки/подборки (если сортировоч
ное устройство подключено): Отключено
• Устройство подачи бумаги: Ранее выбран
ный лоток
Копировальное устройство входит в началь
ный режим значений функций при первом
включении или примерно через 1 минуту* * пос
ле получения последней копии предыдущей
работы.
• Это время (время автоматического сброса)
может быть изменено. См. стр.28, ПРОГРАМ
МЫ ПОЛЬЗОВАТЕЛЯ.
Примечание; Копии формата АЗ учитывают
ся как 2 копии.
27
Comentários a estes Manuais