
ИНДИКАТОР ЗАСТРЕВАНИЯ ЛИСТА
Если во время работы копира произошло застре
вание листа, то копир остановится, начнется мига
ние индикатора застревания (
[Ш )т
ОДИН из крас
ных индикаторов места застревания миганием ука
жет примерное место случившейся неполадки .
После извлечения застрявшей бумаги откройте и
вновь закройте переднюю крышку копира и убеди
тесь в том, что все индикаторы застревания погас
ли.
Если в процессе устранения неполадок бумага по
рвется, убедитесь в том, что все куски ее будут из
влечены из копира.
Будьте особенно внимательны, чтобы не повредить
поверхность барабана или проводки (юронного раз
ряда.
О том, как поступить в случае застревания листа в
дополнительных устройствах, читайте в соответ
ствующих разделах настоящего руководства.
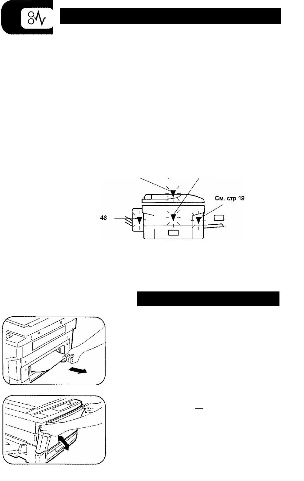
Прежде всего сверьтесь с индикаторами места застревания
См. стр 21,
См. стр 43 См. стр 21
Застревание произошло в устройстве
ручной подачи
1
Осторожно вытащите застрявший лист.
Откройте и закройте крышку передней панели для того,
чтобы погас индикатор [^1.
19
Comentários a estes Manuais