Sharp UP-820F Manual do Utilizador Página 102

  • Descarregar
  • Adicionar aos meus manuais
  • Imprimir
  • Página
    / 242
  • Índice
  • MARCADORES
  • Avaliado. / 5. Com base em avaliações de clientes
Vista de página 101
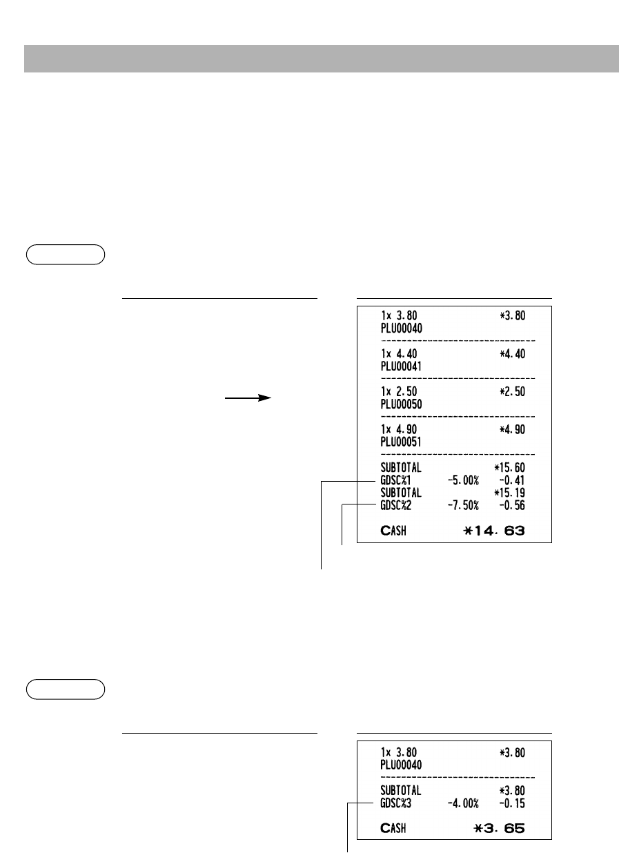
Kundenbeziehungs-Management
Rabattgruppen
Mit dieser Funktion lassen sich alle Verkaufsposten in Gruppen aufteilen und Ab-/Aufschlags-
Registrierungen anhand der Prozentsätze und anderer Einstellungen vornehmen, die nach der Aufteilung
für die einzelnen Gruppen programmiert sind.
Zur Anwendung dieser Funktion ist nach Warengruppe oder PLU/EAN-Registrierung eine Gruppenrabatt-
Taste (
L
bis
a
) zu drücken.
Bei Drücken einer Rabattgruppen-Umschalttaste (
Y
bis
Z
) vor der Gruppenrabatt-Taste wird die
diskontierbare Zwischensumme für die zugehörige Gruppe angezeigt.
PLU-Code 40 und 41: Rabattgruppe 1
PLU-Code 50 und 51: Rabattgruppe 2
Rabattgruppen-Umschaltung
Während einer Transaktion ist auch die Umschaltung einer Rabattgruppe auf eine andere möglich.
Hierzu eine Rabattgruppen-Umschalttaste (
Y
bis
Z
) vor einer Warengruppen- oder PLU/EAN-
Registrierung drücken.
PLU-Code 40: Rabattgruppe 1
O
/
N
c
DruckTastenbedienung
Beispiel
/
!
)
Q
Y
s
L
M
c
DruckTastenbedienung
Beispiel
M
angewendet auf Rabattgruppe 2
L
angewendet auf Rabattgruppe 1
Rabattgruppe 1 wird auf Rabattgruppe 3
umgeschaltet.
Anzeige der diskontierbaren
Zwischensumme für
Rabattgruppe 1.
100
Vista de página 101
1 2 ... 97 98 99 100 101 102 103 104 105 106 107 ... 241 242

Comentários a estes Manuais

Sem comentários