
5
OPERATION
Controlling Temperature
The refrigerator controls its temperature automatically. However, if needed, adjust the temperature as follows.
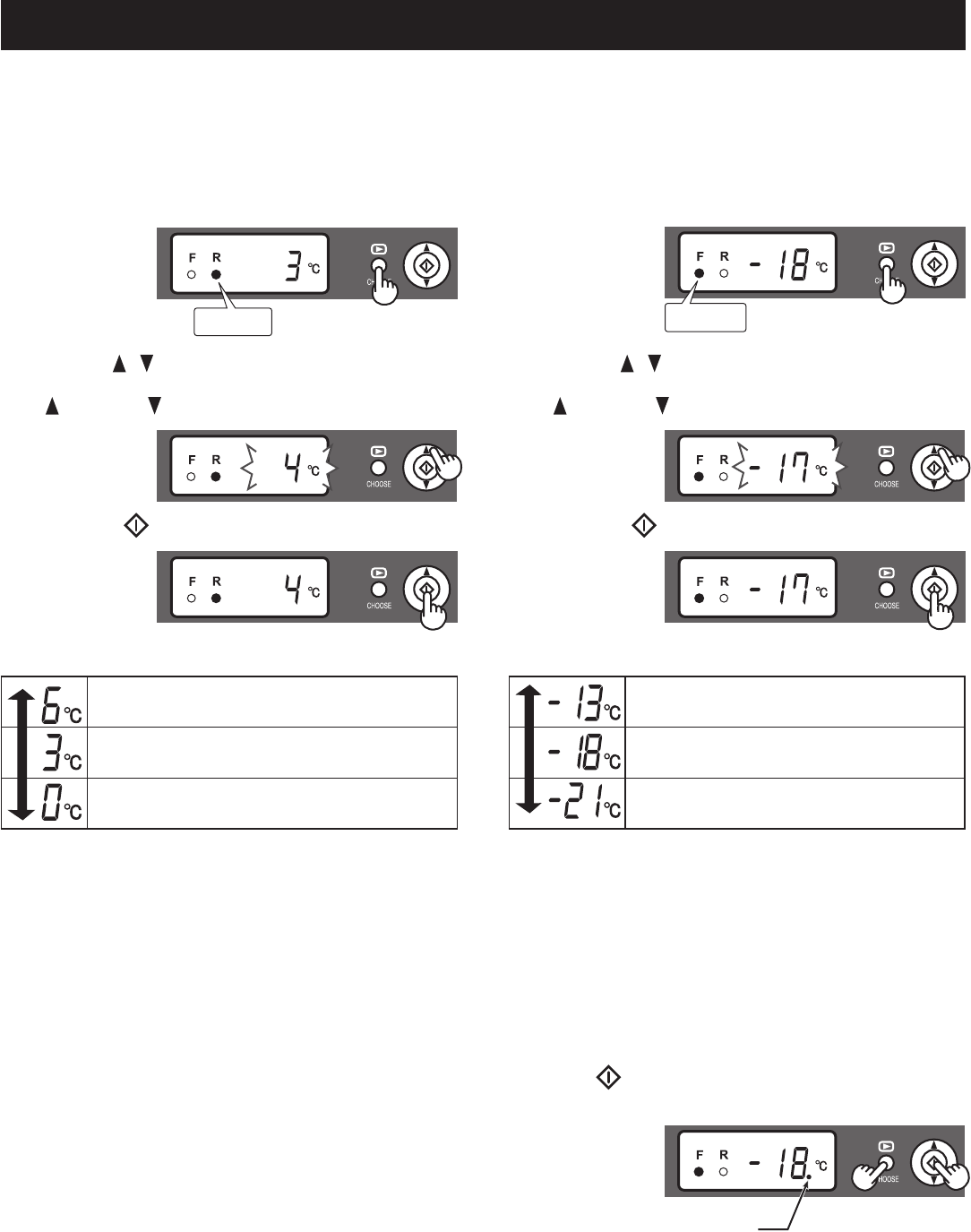
Refrigerator compartment
1
Press the CHOOSE button and make the R lamp to
light.
2
Press the / button and select the desired
temperature.
[
: increase, : decrease ]
3
Press the " " button.
Adjustable between 0°C and 6°C in steps of 1°C.
When the refrigerator provides excessive
cooling.
When the refrigerator provides excessive
cooling.
For keeping foods fresher tasting. When the
refrigerator does not provide sufcient cooling.
Deodorising unit
A built-in unit which requires no manual operation because
it automatically starts operating when the refrigerator is
powered on.
Defrosting
The defrosting system incorporates a fully automatic •
energy efcient defrosting system.
The defrost water collects in the evaporating pan, where it •
is evaporated by the heat of the compressor, etc.
The evaporating pan does not require cleaning or •
maintenance.
Lighting
Freezer compartment
1
Press the CHOOSE button and make the F lamp to
light.
2
Press the / button and select the desired
temperature.
[
: increase, : decrease ]
3
Press the " " button.
Adjustable between -13°C and -21°C in steps of 1°C.
When frozen food or ice cream is not
stored.
For normal freezing.
For making ice rapidly or fast freezing.
Door Alarm
When the refrigerator or freezer door is left open, the door
alarm will sound.
The door alarm will sound 1 minute after opening the door •
and again after 1 minute (once in each case).
If the door is left open for approx. 3 minutes, the alarm will •
sound continuously.
To cancel operation
Press the " " button continuously 3 seconds or more
while holding down the CHOOSE button.
It is the same method also when restarting the operation.
Lighting
It shows the door alarm stop.
(B537-2).indb 5 2015/02/25 9:07:28
Comentários a estes Manuais