
6
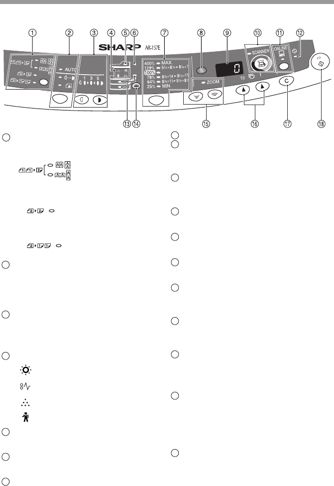
OPERATION PANEL
Original to copy key and indicators
(AR-157E)
Two-sided copies from
one-sided originals.
Turn on Long Edge or
Turn on Short Edge can
be selected.
Two-sided copies from
two-sided originals. (Can
be selected only when the
RSPF is used.)
Single-sided copies from
two-sided originals. (Can
be selected only when the
RSPF is used.)
Exposure mode selector key and
indicators
Use to sequentially select the exposure
modes: AUTO, MANUAL or PHOTO.
Selected mode is shown by a lit indicator.
(p.16)
Light and dark keys and indicators
Use to adjust the MANUAL or PHOTO
exposure level. Selected exposure level is
shown by a lit indicator. (p.16) Use to start
and terminate user program setting. (p.23)
Alarm indicators
Developer replacement required
indicator (p.37)
Misfeed indicator (p.32)
Toner cartridge replacement
required indicator (p.25)
Maintenance indicator (p.37)
RSPF/SPF indicator (p.15)
Can be used only when your unit has the
RSPF/SPF.
RSPF/SPF misfeed indicator (p.35)
Can be used only when your unit has the
RSPF/SPF.
Copy ratio selector key and
indicators
Use to sequentially select preset
reduction/enlargement copy ratios.
Selected copy ratio is shown by a lit
indicator. (p.18)
1
2
3
4
5
6
7
Copy ratio display (%) key (p.18)
Display
Displays the specified copy quantity, zoom
copy ratio, user program code, and error
code.
SCANNER key and indicator
(p.53, p.60)
Can be used when the Printer/Scanner
Expansion Kit (AR-PG2) is installed.
ONLINE key and indicator (p.53)
Can be used when the Printer/Scanner
Expansion Kit (AR-PG2) is installed.
Power save indicator
Lights up when the unit is in a power save
mode. (p.22, p.23)
Paper feed location indicators
Light up to show the selected paper feed
station.
Tray select key
Use to select a paper feed station (paper
tray 1, paper tray 2 or multi-bypass tray)
(p.19)
ZOOM keys and indicator
Use to select any reduction or
enlargement copy ratio from 25% to 400%
in 1% increments. (p.18)
Copy quantity keys
• Use to select the desired copy quantity
(1 to 99). (p.16)
• Use to make user program entries.
(p.23)
Clear key
• Press to clear the display, or press
during a copy run to terminate copying.
(p.16)
• Press and hold down during standby to
display the total number of copies made
to date. (p.24)
Start key and indicator
• Copying is possible when the indicator
is on.
• Press to start copying.
• Use to set a user program. (p.23)
8
9
10
11
12
13
14
15
16
17
18
Comentários a estes Manuais